
微信號:13921705661掃一掃 聯(lián)系我們

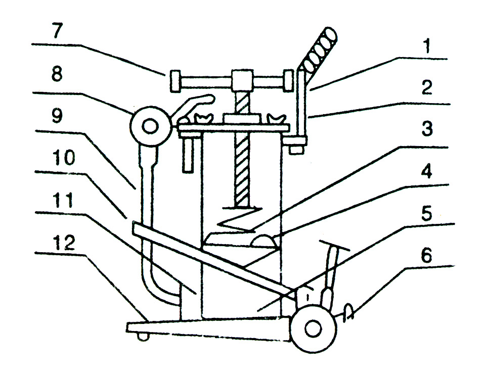
1、推把 2、緊固帽 3、壓簧 4、皮碗 5、過濾網
6、放氣 7、絲杠把 8、加油槍 9、膠管
10、腳踏架 11、儲油桶 12、機座
腳踏式注油器使用說明
先將該機絲杠(7)上旋,卸下緊固帽(2),把桶蓋和壓簧總成提出桶內。再把放氣螺絲(6)旋下,皮碗(4)中心提片用手指用力提出,把潤滑脂加入儲油桶(11)內(留出壓簧(3)和皮碗的空間),而后以上部件按原位置裝好旋緊。將絲杠(7)下旋,使壓簧(3)壓縮(用力不必過猛),把放氣螺絲松開,腳踏幾次,踏架(10)每踏一次踏架須回升到zui高處,再往返,使放氣螺絲(6)放氣出油為止,緊固,再踏兩腳以上,膠管(9)產生高壓,提出加油槍(8)勾動槍機,即可注油。
管理員
該內容暫無評論